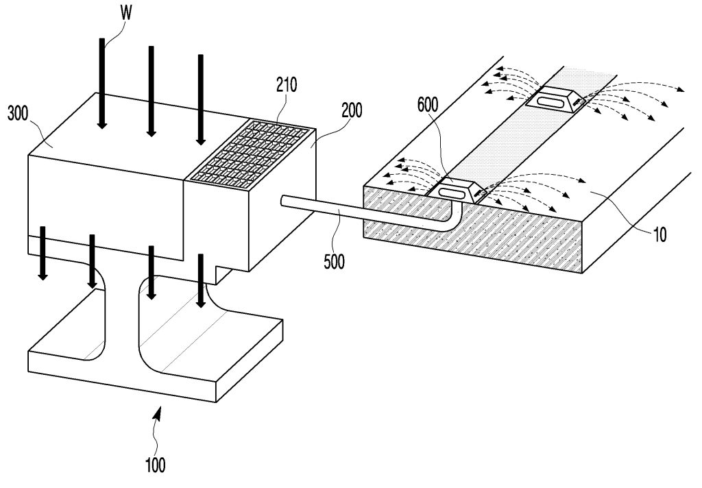
본 발명은, 복수의 모듈을 포함하고, 상기 모듈 각각은, 지하에 매립되고, 내부에 저류공간을 포함하는 저류블록; 상기 저류블록의 상면에 상방으로 돌출 형성되고, 우수를 내부로 통과시켜 상기 저류공간으로 이동시 키는 집수부; 상기 저류블록의 상면에 분리 가능하게 결합되고, 상기 집수부의 측부에 배치되는 투수블록; 및 상 기 투수블록 및 상기 집수부 중 적어도 하나에 결합되어, 상기 저류공간 내에 수용된 우수를 배출시키는 파이프 를 포함하고, 상기 파이프는 도로 상의 표지병과 연결되는, EGI를 탑재한 물순환 시스템에 관한 것이다.

